电捕焦油器
    发布时间: 2025-04-17 14:43    
电捕焦油器


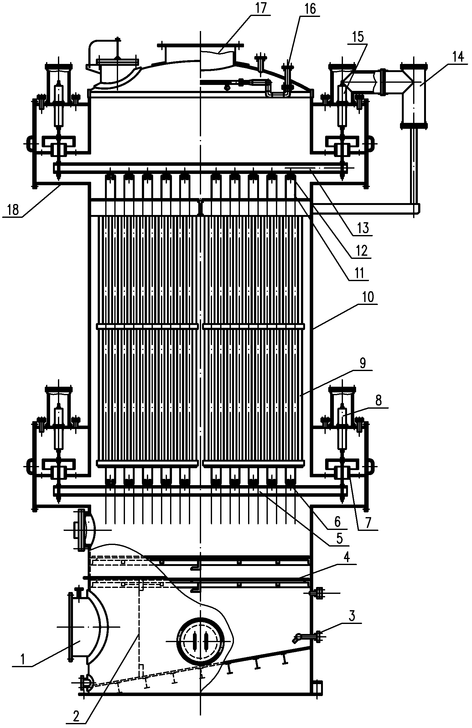
电捕焦油器的组成

本产品由高压直流电源和捕焦本体(机械塔体)两大部分组成,前者选用CS-Ⅲ恒流型静电沉积用高压直流电源;后者结构上可选用TD套筒式(同心园式)、GD管式、FD蜂窝式或SJD湿管式。四种结构的本体均主要由筒体和放电极(电晕极)以及吸捕极(沉淀极)组成。

焦炉电捕焦油器是把焦炉煤气中焦油雾除去,净化煤气的除尘设备,电捕焦油器由一个圆柱形的外壳,内设蜂窝状成轴向排列的沉淀极系统,一套拉紧的导线作为电晕极,高压电流发生器与升压柜,另外还有仪表、控制供电和输电等设备组成。电捕焦油除尘器与机械除焦油器相比,具有捕焦油效率高、阻力损失小、气体处理量大等特点。不仅可*后续工序对气体质量的要求。提高产品回收率,沥青烟除尘收尘设备,而且可明显改善操作环境。电捕焦油除尘器采用结构形式有同心圆式、管式和蜂窝式等三种。无论哪种结构,其工作原理,即在金属导线与金属管壁〔或极板〕间施加高压直流电,以维持足以使气体产生电离的电场,使阴阳极之间形成电晕区。三种结构的电捕焦油器均由壳体、沉淀极、电晕极、上下吊架、气体再分布板、蒸汽吹洗管、绝缘箱和馈电箱等部件组成,其主要区别是沉淀极的形式、电晕极的排布方式、绝缘箱和馈电箱。

工作原理

高压直流电源产生的负高压,接入电晕极(阴极),它与沉淀极(阳极)之间产生电场,电场强度超过一定极限后在阴阳两极间即产生电晕放电。此时流经电场区的气体发生电离,产生大量的离子和电子。周围可听见强烈的电磁风声并可见紫兰色电晕。通过电场的煤气中的焦油、粉尘、水雾等粒子与离子或电子结合而荷电,在电场力的作用下向两极运动。由于电子质量小,运动速度快,空间分布广,所以主要是荷负电的粒子向沉淀极运动。到达沉淀极板中和后,依靠残存的静电引力和分子间凝聚力首先吸附于沉淀极,而后靠自身重力沿极板下落,通过焦油出口排出。

产品展示
当前位置:
产品分类
联系我们contact us

河北硕德环保设备有限公司

联系人:杨经理

联系电话:15128721708

联系电话:13230788205

地址:河北省沧州市泊头市富镇南庄路口西200米路南